Dziś opublikowano nowy wniosek patentowy Apple, prezentujący Smart Cover do iPada, który mógłby upodobnić tablet z nadgryzionym jabłkiem do Surface’a Microsoftu. Należy jednak pamiętać, że to, że firma stara się zastrzec jakieś pomysły, nie jest równoznaczne z planami wprowadzenia ich w życie. Z drugiej strony, jest to już kolejny wniosek patentowy, w którym Apple przedstawia Smart Cover zintegrowany z klawiaturą, więc być może nie długo tego typu akcesorium zostanie pokazane światu.
Zaprezentowana w dokumencie klawiatura została zaprojektowana, aby można było na niej wykonywać gesty i – w przeciwieństwie do wspomnianego urządzenia konkurencji z Redmond – wyeliminować całkowicie potrzebę używania osobnego urządzenia jak gładzik, czy mysz, a być może i potrzebę dotykania ekranu w czasie korzystania z klawiatury. Gesty miałyby być wykonywane na powierzchni klawiatury – w jednej z możliwych konfiguracji, klawiatura jest „wirtualna” – jej powierzchnia byłaby całkowicie płaska i działałaby jednocześnie jako jeden, duży panel dotykowy.
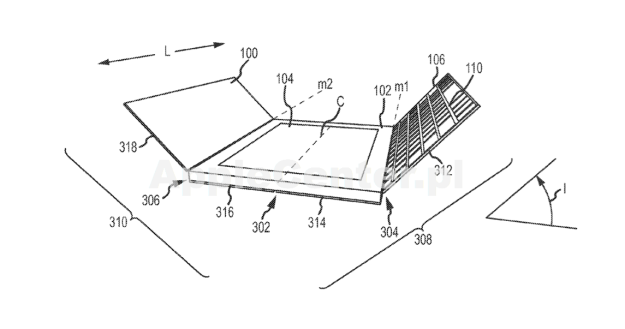
Opisany we wniosku Smart Cover łączyłby się z iPadem oczywiście bezprzewodowo, a zastosowane magnesy pozwalałaby na utrzymanie go w odpowiedniej pozycji.
[source name=”Cult of Mac” url=http://www.cultofmac.com/271894/apples-next-ipad-smart-cover-feature-surface-style-keyboard-patent/]

